AZC vacuum ejector

Accessories series

AZC vacuum ejector


Product Overview

主要技术参数:

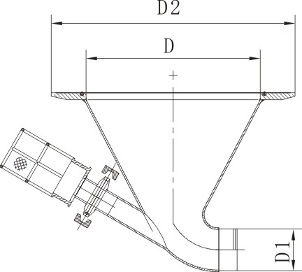
型号

主要尺寸

ΦD

ΦD1

ΦD2

AZC150-38

150

38

230

AZC150-50

150

50

230

AZC200-38

200

38

280

AZC200-50

200

50

280

AZC200-63

200

63

280

AZC250-50

250

50

330

AZC250-63

250

63

330