ADGH hopper material distribution cover

Accessories series

ADGH hopper material distribution cover


Product Overview

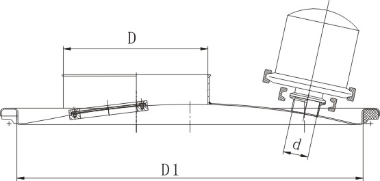
主要技术参数:

型号

主要尺寸

ΦD

ΦD1

Φd

ADGH315-150

150

315

38

ADGH315-200

200

315

38

ADGH400-150

150

400

38

ADGH400-200

200

400

38

ADGH400-250

250

400

38

ADGH500-150

150

500

38

ADGH500-200

200

500

38

ADGH500-250

250

500

38

ADGH600-200

200

600

38

ADGH600-250

250

600

38