Blender series
Overview
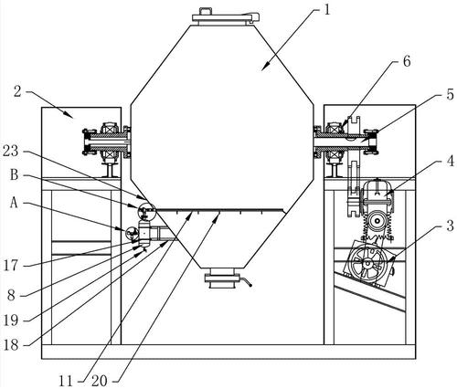
The W-type double cone mixer consists of a double cone cylinder, mechanical seal, frame, reduction drive, mixing blades, etc. The working process of the machine is: several materials to be mixed are vacuum conveyed or manually added into the double cone body, the cylinder cover is closed, the equipment is opened, and the double cone cylinder and stirring blades rotate simultaneously. The rotating double cone cylinder causes the materials inside the cylinder to produce chaotic rolling and mixing, and the high-speed rotating stirring blades break down the agglomerated materials, allowing the materials to mix quickly inside the cylinder. The W-type double cone mixer has no dead corners or sedimentation during the working process, which can quickly achieve uniform and consistent mixing of materials.
principle
The W-type double cone mixer is a new type of fine container rotary and stirring mixing equipment, used for uniform mixing of various powdered and granular materials, with high mixing degree, and can achieve good mixing degree for ingredients with small addition amount; The machine adopts mechanical sealing, which prevents powder leakage and has a long service life for the bearings; This machine has high mixing efficiency, high working efficiency, low labor intensity, and easy operation. Can be used in industries such as magnetic powder, ceramics, chemical, pharmaceutical, and feed.
Purpose:
1. Metal powders: Aluminum, lead, zinc, copper, iron, nickel, alloys, magnetic materials and other metals are powders.
2. Chemical materials such as resins, plastics, rubber additives, dyes, pesticide fillers, etc.
3. Food categories that meet hygiene standards: flour, cocoa, coffee, seasonings, additives, etc.
4. Chinese and western APIs, western medicines and traditional Chinese patent medicines and simple preparations designed according to the requirements of GMPS.
5. Select, shell, and remove impurities from crops such as grains, corn, beans, and sesame.
6. Abrasives: glass powder beads, alumina, corundum, chlorocarbon, diamond sand, quartz sand and other grinding materials.
7. Feed processing powders, granules, additives, etc.
8. Screening of raw materials for fertilizers and precision screening of other finished products.
9. Screening of various mineral raw powders and their processed products in mineral resources.
10. Fibrous materials: sawdust, wood powder, charcoal, activated carbon, carbon black, and other fibrous materials.
11. Recycling and utilization of various materials and resources such as electric solder, refractory materials, fluorescent powders, etc.
characteristic
(1) The machine is driven by an electric motor, the cylinder is driven by a sprocket, and the stirring blades are driven by a V-belt. It has a simple structure, reliable transmission, and easy maintenance;
(2) The double cone support bearing of the machine adopts mechanical sealing dust isolation treatment, which has reliable sealing effect. The powder will not leak and will not be damaged by rapid wear of the bearing due to material entering the bearing;
(3) The feed inlet of the double cone tube adopts a quick opening rotary valve, and the discharge outlet adopts a large-diameter 90 ° rotary valve, which is particularly convenient to use.
Note: 1. Materials with a bulk density greater than 3 need to be customized separately;
2. The machine has a good sealing effect and can be used for mixing liquid-phase materials;
3. Customize spray or additive devices according to customer requirements;
4. It can be converted into a vacuum dryer according to user needs.
