Square cone hopper series
Product details:
1. Choose different materials SUS304 or SUS316L according to customer requirements. The inner wall of the hopper is polished with a mirror finish (RA ≤ 0.4 μ m), and the outer surface is treated with a matte finish (RA ≤ 0.6 μ m). Mold compression molding, smooth without dead corners, easy to clean.
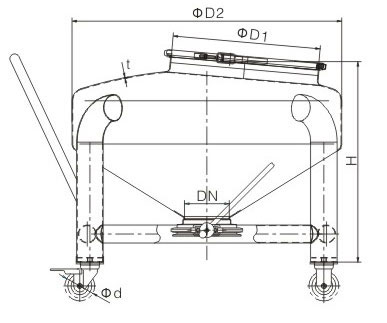
2. The LDP circular tablet hopper discharge butterfly valve adopts a quick release clamp structure that is easy to disassemble and clean; Specially made silicone butterfly plate to protect pills from damage, equipped with food grade sealing rings for reliable sealing; The operating handle is equipped with an anti misoperation device, ensuring accurate positioning and safe operation.
3. The hopper cover is equipped with food grade silicone sealing rings and adopts a clamp quick lock structure with good sealing effect, allowing materials to be mixed in a fully enclosed state, achieving dust-free production and complying with GMP requirements.
4. Each hopper is equipped with four 304 stainless steel brackets, high-tech polyurethane casters, two directional and two universal, which are flexible and convenient to move without damaging the ground.
5. The hopper can stack multiple layers, greatly saving production space.

